Amazonが音声で操作できるミニドローンの特許を取得していた
Amazonがドローンの活用に注目していることは有名だ。
Futurusでも過去に2件のAmazonの特許について取り上げた。
『どこに居ようともAmazonからの荷物が追いかけてくる』
『ドローンだって休憩したい? Amazonが特許を取得したドローンの中継基地がドローンの止まり木になる』
そして今回は、配達以外の使い方について特許を取得していた。
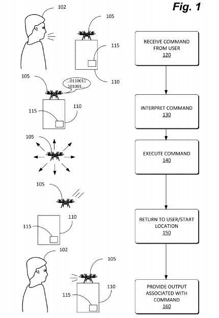
ポケットに入り、肩に乗るほどの小さなドローンを、音声でコントロールするという。
■ 肩に乗るほどの小型ドローン
今回Amazonが特許に登録したドローンは、鞄やポケットにいれて持ち運べるほど小さなサイズのドローンで、肩に乗せておくこともできる。
source:United States Patent and Trademark Office
そして、音声でコントロールするのだ。

source:United States Patent and Trademark Office
その用途は多岐にわたる。子供が迷子になったときに、顔を認識する機能を使って子供を探したり、駐車場に止めた車を探すために車種や色を認識する機能を利用する。

source:United States Patent and Trademark Office
また、行列の長さを確認したり、事故現場や犯行現場の記録や夜間のセキュリティーにも使えるとしている。
たとえば、ランニング中の自分を追跡撮影させておけば、アクシデントが起きた際の記録が可能になるだろう。
また、熱を検知するセンサーを使って、火災の火元を検知するといった活用法も上げられている。
■ 警察官の活動をサポートするドローン
特に注目されているのが、警察のアシスタントとしての機能だ。
通常は肩に装着されているドック上に待機し、警察官が取り調べをしている様子などを記録する。
たとえば検問でドライバーから免許証を提示させる場面などを記録する。
そして必要に応じて声で命令すればドローンは飛行し、警察官に追随飛行したり、旋回したりしながら警察官の行動を記録することもできる。

source:United States Patent and Trademark Office
あるいは取調中に、相手が逃走した場合は警察官による追跡をサポートする。
なお、肩のドックでは、充電もできるとしている。
■ ドローンの活用法を積極的に模索するAmazon
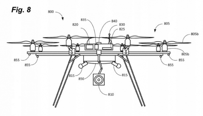
この小型ドローンには、カメラのほかにマイクやさまざまなセンサが搭載されるため、画像処理だけでなく熱を検知することもできるようになる。

source:United States Patent and Trademark Office
たとえば災害現場に駆けつけたレスキュー隊員や警察官が、炎や瓦礫にいく手を阻まれたときは、肩に待機している小型ドローンに声で命令して、救助すべき被災者がいるかどうかを調べるように飛び立たせることができるようになるかもしれない。
特許に記載された内容が必ずしも実現するとは限らないが、Amazonがドローンの可能性を積極的に模索している姿勢には期待したい。
【参考】
United States Patent and Trademark Office
Amazon wins patent for pocket-sized, voice controlled drones
Amazon Granted Patent for Police Shoulder Drones