その靴で、ディズニーランドでの行動が、密かに把握される日が来るかもしれない (2/2ページ)

source:United States Patent and Trademark Office
例えば、その客はどのような種類のアトラクションに行く傾向があるか、どの程度の待ち時間を過ごしていたか、どんなものを購入したかなどが把握される。
そして、この客が喜ぶ可能性が高いサービスは何かを分析し、最適なサービスを提供するというのだ。
■ あなたの欲求は、見透かされるようになる
一方、ディズニーランドではすでに、「マジックバンド」というトラッキングシステムを導入しているが、「マジックバンド」を利用するかどうかは客側の判断に委ねられている。そのため、全ての来場者を追跡することはできない。
しかし、今回特許を取得した方法であれば、全ての客をトラッキング対象とする事が可能になる。
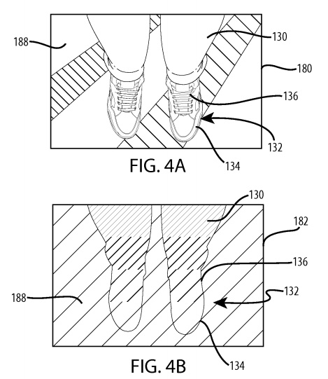
また、これまでも顔認証によってトラッキングするというアイデアがあったが、もともと人の顔の差異を捉えることは難しく、また表情が変わったりサングラスを掛けたりする顔の認証の精度を上げることは難しい。
ところがディズニーが特許を取得した靴やズボンの組み合わせの特徴は、少なくとも靴を履き替えたりしないその日のうちの利用であれば、個人を特定する事が容易で精度も高い。
つまり、客の行動をトラッキングするにはかなり上手いアイデアだと言えそうだ。
ディズニーランドのようなエンターテインメントを提供する施設で、客ごとに最適化された体験やサービスを提供できるということは、より多くのお金を使ってもらうためには非常に重要な販売促進戦略となるはずだ。
もし、ディズニーランドで、「なんだか、すごく気が利くようになったなぁ」と思ったら、すでにあなたの行動や施行性は、ディズニーに見透かされているのだと思った方が良いかもしれない。
【参考】
※ United States Patent and Trademark Office
※ Disney patents system to recognize Magic Kingdom visitors by their footwear | Daily Mail Online