その靴で、ディズニーランドでの行動が、密かに把握される日が来るかもしれない (1/2ページ)
Photo credit: The fixed factor via Visualhunt / CC BY
ディズニーランドで迷っていたら、
「お客様がお好みのアトラクションなら、あちらでお楽しみいただけますよ」
と、ロボットに案内されたり、販売店に入ったら、
「お客様の好きな『カーズ』のミニカーがお勧めですよ」
と店員に勧められるなど、こちらの要望が先回りされるようになるかもしれない。
なぜなら、ディズニーランドに一歩入ったときから、あなたの行動は密かにトラッキングされ、指向性などがデータベース化され分析されるからだ。
ディズニーには、そんな企みがあるようなのだ。
■ 知らない間にスキャンされトラッキングされる
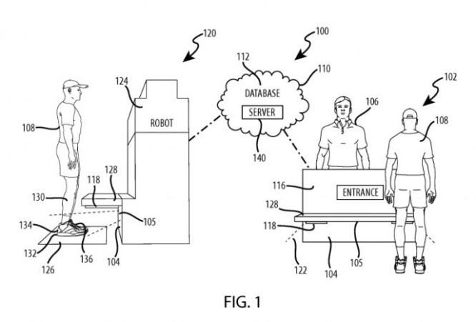
Disney Enterprisesは、テーマパークに来園した客の足元を、密かにスキャンして、履いているズボンや靴の特徴と顧客データをデータベースに取り込み、テーマパーク内での行動をトラッキングする技術の特許を取得した。
特許では、この技術は客ごとに最適化されたサービスの提供に利用するという。
来園者は、まずチケットブースや入場口などで足元をスキャンされる。そのとき、客の足元の特徴である、履いているズボンや靴の柄などの組み合わせが特定される。

source:United States Patent and Trademark Office
そして、園内を巡回するロボットが、全ての客の足元を撮影しながら、客のデータベースに行動を追跡した結果が蓄積される。
また、客の行動は、園内を巡回するロボット以外にも、販売店のレジの足元に設置されたカメラ、あるいはアトラクションの入り口に設置されたカメラで撮影される。
そうして客ごとの指向性などを分析するのだ。