芸能・スポーツから恋愛まで人気メディアの最新ニュースを配信
デイリーニュースオンライン
デイリーニュースオンライン
LINE
twitter
facebook
エンタメ
スポーツ
社会
カルチャー
ネット
海外
女子
マネー
連載
DNO
>
ネット
>
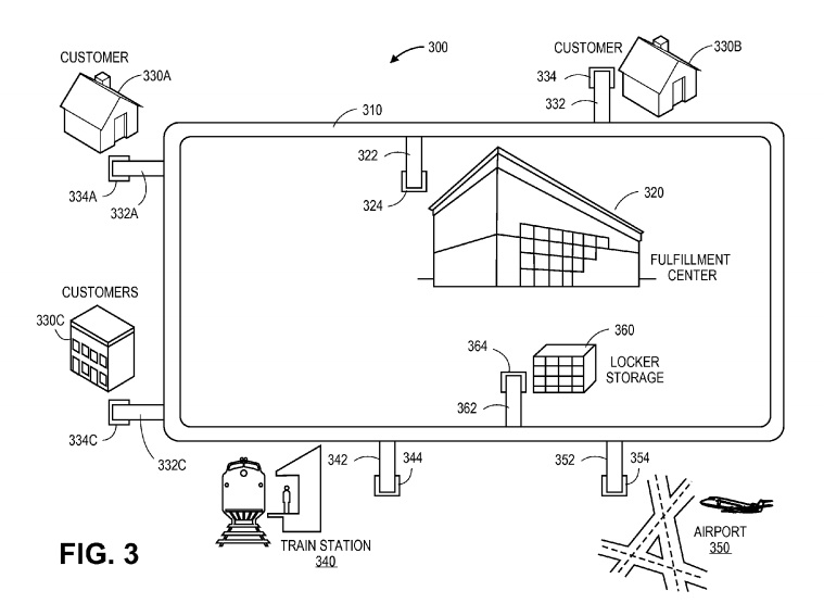
(画像)地下から荷物が届く?今度のAmazonの特許は地下の配送網
地下から荷物が届く?今度のAmazonの特許は地下の配送網
2017.01.30 11:00
FUTURUS
この写真の記事へ
注目記事
『めざましテレビ』でも話題騒然!美肌に必要な200種類以上の成分が詰まった“オールインワンドリンク”
PR
あの双子ママさんタレントも愛用? コスパ最強の下半身ダイエット方法発見!
PR
こどもの身長に遺伝の影響はたった23%!今から身長を伸ばすなら母乳にも含まれる成分「α-GPC」がおススメ!
PR
編集部ピックアップ
山田孝之に、ムロツヨシがマジギレ?「一作品に一回大ゲンカ」
有吉弘行の“不適切”発言に批判殺到「子ども虐待って…」「最悪だと思った」
井上咲楽、片想い男性に告白もドン引きの声「やらされてる?」「ワンチャン男だ」相手にも批判
R-1王者の小競り合いで明るみに…ますだおかだにM-1不正疑惑?
日テレ水卜麻美、ポロシャツ姿で見えた「Gバスト肌着の柄」が生々しすぎ!
深田恭子、破局危機の原因も“依存”? 過去には激太りも、ハマりやすい性格か
長瀬智也「寿司のシメは鉄火巻」大好きな回転寿司店で見せる素顔
【有名人マジギレ事件簿】かまいたち・濱家を「共演NG」にしていた“M-1芸人”
Koki,、ブルガリのバッグ持つ姿がなぜか大不評「すべてが不自然」
ジャニ後輩に親友に妻まで…櫻井翔が公私ともに重んじる慶應愛
本田翼、結婚し女優業休止の可能性が浮上? 本人も自覚する演技力でもオファーが殺到したワケは
「地下から荷物が届く?今度のAmazonの特許は地下の配送網」のページです。デイリーニュースオンラインは、
ネット
などの最新ニュースを毎日配信しています。
ページの先頭へ戻る