地下から荷物が届く?今度のAmazonの特許は地下の配送網 (1/2ページ)
source:United States Patent and Trademark Office
『FUTURUS』ではこれまでにも、Amazonのユニークな特許に関していくつか紹介してきた。
『どこに居ようともAmazonからの荷物が追いかけてくる』
『ドローンだって休憩したい? Amazonが特許を取得したドローンの中継基地がドローンの止まり木になる』
『Amazonが音声で操作できるミニドローンの特許を取得していた』
『Amazonが「空に配送センター」を作る特許?』
いずれもユニークな発想だが、共通点として「空を飛行する」ことがテーマとなっていた。
ところが今回紹介する同社の特許はひと味違う。
なんと、「地下」から荷物がやってくるのだ。
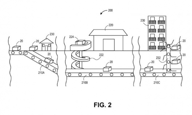
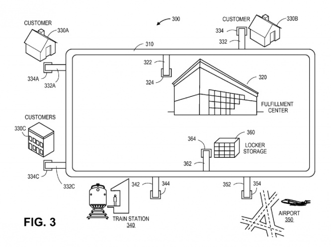
■ 荷物の配送システムを地下の構築する
同社のこの特許はすでに3年前に出願されたものだが、2016年の11月に承認された。
特許は地下から商品を配送するというシステムに関するもので、商品を地下で移動させるために空気圧で移動させるチューブやベルトコンベア、あるいはレールが使われるという。

source:United States Patent and Trademark Office
そしてこの地下の配送システムは、地上では鉄道駅、空港、フルフィルメントセンター、ロッカールーム、そして顧客などに接続される。