地下から荷物が届く?今度のAmazonの特許は地下の配送網
source:United States Patent and Trademark Office
『FUTURUS』ではこれまでにも、Amazonのユニークな特許に関していくつか紹介してきた。
『どこに居ようともAmazonからの荷物が追いかけてくる』
『ドローンだって休憩したい? Amazonが特許を取得したドローンの中継基地がドローンの止まり木になる』
『Amazonが音声で操作できるミニドローンの特許を取得していた』
『Amazonが「空に配送センター」を作る特許?』
いずれもユニークな発想だが、共通点として「空を飛行する」ことがテーマとなっていた。
ところが今回紹介する同社の特許はひと味違う。
なんと、「地下」から荷物がやってくるのだ。
■ 荷物の配送システムを地下の構築する
同社のこの特許はすでに3年前に出願されたものだが、2016年の11月に承認された。
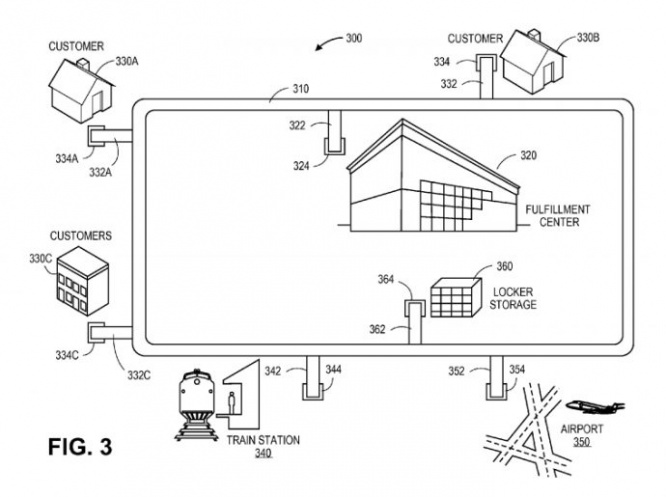
特許は地下から商品を配送するというシステムに関するもので、商品を地下で移動させるために空気圧で移動させるチューブやベルトコンベア、あるいはレールが使われるという。

source:United States Patent and Trademark Office
そしてこの地下の配送システムは、地上では鉄道駅、空港、フルフィルメントセンター、ロッカールーム、そして顧客などに接続される。

source:United States Patent and Trademark Office
このシステムについてAmazonのXiaoshan Cai氏は、伝統的な輸送ネットワークの混雑を避けられると指摘している。
■ 次はどんな特許が飛び出すのか
といっても、本当にこのような地下の配送ネットワークが実現すれば、という話になるが、実は地下に注目していたのはAmazonだけではない。
英Mole Solutions社もパイプラインを使った貨物配送システムについて提案している。
[youtube https://www.youtube.com/watch?v=I3XiE3f4mQg]
しかし、地下に物流ネットワークを構築するのは、技術やコスト、それに様々な規制などの問題で、実現はむずかしそうだ。
ただ、Amazonは荷物をいかに迅速に届けるかということについて、片っ端から特許を取得しておこうと意欲的だ。
そのうち、瞬間物質輸送機のような特許も取得するかもしれない。
【参考】
※ United States Patent and Trademark Office
※ Amazon wins patent for subterranean package delivery network
※ Amazon patents subterranean package delivery network | The latest news from the Computer and IT Industry | PC Retail
※ Amazon Patents Underground Delivery System Via Network of Tunnels